Κωδικός QR
Σχετικά με εμάς
Προϊόντα
Επικοινωνήστε μαζί μας

Τηλέφωνο

Φαξ
+86-574-87168065

ΗΛΕΚΤΡΟΝΙΚΗ ΔΙΕΥΘΥΝΣΗ

Διεύθυνση
Βιομηχανική περιοχή Luotuo, περιοχή Zhenhai, πόλη Ningbo, Κίνα
Ο καθολικός σύνδεσμος SWC-BH Standard Flex Welding Type Universal Coupling της Raydafon έχει σχεδιαστεί ειδικά για τη μεταφορά ροπής βαρέως τύπου σε απαιτητικά σενάρια βαρέων μηχανημάτων - σκεφτείτε ελαστήρια, γερανούς και εξοπλισμό εξόρυξης που λειτουργούν υπό συνεχή υψηλή καταπόνηση.
Έρχεται με συγκολλημένο ζυγό ως βασικό χαρακτηριστικό σχεδιασμού και οι διάμετροι περιστροφής του εκτείνονται σε ένα πρακτικό εύρος: από 180 mm έως 620 mm. Αυτό που το κάνει να ξεχωρίζει για δύσκολες εργασίες είναι η ικανότητά του να χειρίζεται γωνιακές λανθασμένες ευθυγραμμίσεις έως και 15 μοιρών, καθώς και φορτία ροπής έως και 1250 kN·m—και τα δύο κρίσιμα για τη διατήρηση σταθερών λειτουργιών ακόμη και σε δύσκολες συνθήκες εργασίας.
Η ποιότητα κατασκευής εστιάζεται στην ανθεκτικότητα: ο σύνδεσμος χρησιμοποιεί χάλυβα υψηλής αντοχής 35CrMo για ανθεκτικότητα μεγάλης διάρκειας, σε συνδυασμό με βελονοειδή ρουλεμάν ακριβείας για να εξασφαλίσει ομαλή, αξιόπιστη απόδοση με την πάροδο του χρόνου. Αυτό το καθιστά ιδανική επιλογή για δύο βασικές ανάγκες: γενικούς συνδέσμους προσαρμοσμένους για βαριά μηχανήματα και συγκολλημένους συνδέσμους γενικής χρήσης κατάλληλους για εφαρμογές βιομηχανικής ποιότητας.
Η Raydafon κατασκευάζει αυτόν τον σύνδεσμο στην Κίνα και όλη η παραγωγή ακολουθεί τα πρότυπα ISO 9001 για να εγγυάται σταθερή ποιότητα. Επιπλέον, προσφέρει προσαρμοσμένες επιλογές που ανταποκρίνονται σε συγκεκριμένες απαιτήσεις—όλα σε τιμές που παραμένουν ανταγωνιστικές για επιχειρήσεις που αναζητούν αξιοπιστία και αξία.
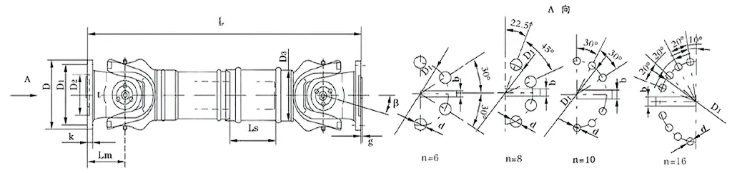
| Οχι. | Διάμετρος περιστροφής D mm | Ονομαστική ροπή Tn KN·m | Γωνία αναδίπλωσης αξόνων β (°) | Κουρασμένη ροπή Tf KN·m | Flex ποσότητα Ls mm | Μέγεθος (mm) | Περιστρεφόμενη αδράνεια kg.m2 | Βάρος (kg) | |||||||||||
| Lmin | Δ1 (js11) | Δ2 (H7) | D3 | Lm | n-d | k | t | β (h9) | g | Lmin | Αύξηση 100 χλστ | Lmin | Αύξηση 100 χλστ | ||||||
| SWC58BH | 58 | 0.15 | 0.075 | ≤22 | 35 | 325 | 47 | 30 | 38 | 35 | 4-5 | 3.5 | 1.5 | - | - | - | - | 2.2 | - |
| SWC65BH | 65 | 0.25 | 0.125 | ≤22 | 40 | 360 | 52 | 35 | 42 | 46 | 4-6 | 4.5 | 1.7 | - | - | - | - | 3 | - |
| SWC75BH | 75 | 0.5 | 0.25 | ≤22 | 40 | 395 | 62 | 42 | 50 | 58 | 6-6 | 5.5 | 2 | - | - | - | - | 5 | - |
| SWC90BH | 90 | 1 | 0.5 | ≤22 | 45 | 435 | 74.5 | 47 | 54 | 58 | 4-8 | 6 | 2.5 | - | - | - | - | 6.6 | - |
| SWC100BH | 100 | 1.5 | 0.75 | ≤25 | 55 | 390 | 84 | 57 | 60 | 58 | 6-9 | 7 | 2.5 | - | - | 0.0044 | 0.00019 | 6.1 | 0.35 |
| SWC120BH | 120 | 2.5 | 1.25 | ≤25 | 80 | 485 | 102 | 75 | 70 | 68 | 8-11 | 8 | 2.5 | - | - | 0.0109 | 0.00044 | 10.8 | 0.55 |
| SWC150BH | 150 | 5 | 2.5 | ≤25 | 80 | 590 | 13 | 90 | 89 | 80 | 8-13 | 10 | 3 | - | - | 0.0423 | 0.00157 | 24.5 | 0.85 |
| SWC160BH | 160 | 10 | 5 | ≤25 | 80 | 660 | 137 | 100 | 95 | 110 | 8-17 | 15 | 3 | 20 | 12 | 0.145 | 0.006 | 68 | 1.72 |
| SWC180BH | 180 | 20 | 10 | ≤25 | 100 | 810 | 155 | 105 | 114 | 130 | 8-17 | 17 | 5 | 24 | 14 | 0.175 | 0.007 | 70 | 2.8 |
| SWC200BH | 200 | 32 | 16 | ≤15 | 110 | 860 | 170 | 120 | 127 | 135 | 8-17 | 19 | 5 | 28 | 16 | 0.31 | 0.013 | 86 | 3.6 |
| SWC225BH | 225 | 40 | 20 | ≤15 | 140 | 920 | 196 | 135 | 152 | 120 | 8-17 | 20 | 5 | 32 | 9 | 0.538 | 0.0234 | 122 | 4.9 |
| SWC250BH | 250 | 63 | 31.5 | ≤15 | 140 | 1035 | 218 | 150 | 168 | 140 | 8-19 | 25 | 6 | 40 | 12.5 | 0.966 | 0.0277 | 172 | 5.3 |
| SWC285BH | 285 | 90 | 45 | ≤15 | 140 | 1190 | 245 | 170 | 194 | 160 | 8-21 | 27 | 7 | 40 | 15 | 2.011 | 0.051 | 263 | 6.3 |
| SWC315BH | 315 | 125 | 63 | ≤15 | 140 | 1315 | 280 | 185 | 219 | 180 | 10-23 | 32 | 8 | 40 | 15 | 3.605 | 0.0795 | 382 | 8 |
| SWC350BH | 350 | 180 | 90 | ≤15 | 150 | 1410 | 310 | 210 | 267 | 194 | 10-23 | 35 | 8 | 50 | 16 | 7.053 | 0.2219 | 582 | 15 |
| SWC390BH | 390 | 250 | 125 | ≤15 | 170 | 1590 | 345 | 235 | 267 | 215 | 10-25 | 40 | 8 | 70 | 18 | 12.164 | 0.2219 | 738 | 15 |
| SWC440BH | 440 | 355 | 180 | ≤15 | 190 | 1875 | 390 | 255 | 325 | 260 | 16-28 | 42 | 10 | 80 | 20 | 21.42 | 0.4744 | 1190 | 21.7 |
| SWC490BH | 490 | 500 | 250 | ≤15 | 190 | 1985 | 435 | 275 | 325 | 270 | 16-31 | 47 | 12 | 90 | 22.5 | 32.86 | 0.4744 | 1452 | 21.7 |
| SWC550BH | 550 | 710 | 355 | ≤15 | 240 | 2300 | 492 | 320 | 426 | 305 | 16-31 | 50 | 12 | 100 | 22.5 | 68.92 | 1.357 | 2380 | 34 |
Όταν μιλάμε για βιομηχανικό εξοπλισμό βαρέως τύπου που διατηρεί την ισχύ αξιόπιστη ροή, ο σύνδεσμος γενικής σύνδεσης SWC (συχνά αποκαλούμενος σύνδεσμος γενικής σύνδεσης άξονα SWC cardan) είναι ένα αδιαπραγμάτευτο μέρος. Θα δυσκολευτείτε να δουλέψετε σε εγκαταστάσεις όπως ελασματουργεία, ανυψωτικά μηχανήματα και όλα τα είδη σκληρών συστημάτων βαρέων μηχανημάτων—μέρη όπου η κοπή των γωνιών στη μετάδοση ισχύος δεν αποτελεί επιλογή.
Η κύρια δουλειά του; Συνδέστε δύο άξονες μετάδοσης που δεν ευθυγραμμίζονται τέλεια (μη συμπίπτοντες άξονες) και βεβαιωθείτε ότι η ισχύς συνεχίζει να κινείται χωρίς προβλήματα, ακόμη και όταν οι συνθήκες λειτουργίας είναι δύσκολες. Χωρίς τραυλισμό, χωρίς σπασίματα—απλώς σταθερή μεταφορά όταν έχει μεγαλύτερη σημασία.
Ας αναλύσουμε τις βασικές του προδιαγραφές που καθιστούν δυνατή αυτήν την απόδοση:
Διάμετρος περιστροφής: Κυμαίνεται από φ58 έως φ620, καλύπτοντας ένα ευρύ φάσμα βιομηχανικών αναγκών. Ονομαστική ροπή: Χειρίζεται οπουδήποτε από 0,15 kN·m έως 1000 kN·m—αρκετός μυς ακόμη και για απαιτήσεις υψηλής ροπής. Γωνία αναδίπλωσης άξονα: Μπορεί να πάρει γωνίες έως και 25°, τέλεια λειτουργία του άξονα χωρίς συμβιβασμούς.
Πού ξεχωρίζει περισσότερο; Σκεφτείτε τις λειτουργίες του ελασματουργείου—όπου λειτουργεί ως ένας αξιόπιστος σύνδεσμος βαρέως τύπου γενικής χρήσης που αντέχει κάτω από την έντονη πίεση του μύλου. Ή στον εξοπλισμό ανύψωσης και χειρισμού υλικών, όπου ως ανθεκτικός σύνδεσμος αρθρωτού άξονα γενικής χρήσης SWC, διατηρεί τα πράγματα σταθερά ακόμα και όταν τα φορτία γίνονται σοβαρά. Δεν λειτουργεί απλώς - κρατά τις λειτουργίες σταθερές όταν τα πράγματα γίνονται δύσκολα.
Ο γενικός σύνδεσμος άρθρωσης SWC δεν είναι απλώς ενωμένος - είναι σχεδιασμένος από την αρχή για να είναι ανθεκτικός σε βιομηχανικές ρυθμίσεις, με χαρακτηριστικά που ενισχύουν τόσο την απόδοση όσο και τη μακροζωία. Ας ρίξουμε μια προσεκτική ματιά στο τι κάνει τη δομή του να λειτουργεί τόσο καλά.
Έξυπνος, ασφαλής σχεδιασμός
Στον πυρήνα του είναι μια ενσωματωμένη σχεδίαση κεφαλής πιρουνιού - εδώ δεν υπάρχουν ξεχωριστά κομμάτια που συγκρατούνται μεταξύ τους με μπουλόνια. Αυτό έχει σημασία γιατί μειώνει τον κίνδυνο χαλάρωσης ή κουμπώματος των μπουλονιών, ένας κοινός πονοκέφαλος με άλλες ρυθμίσεις. Στην πραγματικότητα, αυτός ο σχεδιασμός αυξάνει τη δομική αντοχή κατά 30% έως 50% σε σύγκριση με παλαιότερα στυλ. Για όποιον βασίζεται σε βαρύ μηχανικό σύνδεσμο γενικής σύνδεσης, αυτό σημαίνει λιγότερες βλάβες όταν τα πράγματα γίνονται έντονα. Είναι το είδος του στιβαρού συνδέσμου γενικής χρήσης που συνεχίζει να λειτουργεί ομαλά, ακόμη και σε περιβάλλοντα υψηλής καταπόνησης όπου άλλα εξαρτήματα ενδέχεται να αποτύχουν.
Κατασκευασμένο για να φέρει το φορτίο
Αυτό δεν είναι ο μέσος σύνδεσμος σας. Ο γενικός σύνδεσμος αρμών SWC βαρέως τύπου είναι κατασκευασμένος για να χειρίζεται σοβαρό βάρος—σκεφτείτε τον εξοπλισμό εξόρυξης, τα μηχανήματα κατασκευής και άλλα βαριά χτυπήματα. Όταν χρειάζεστε έναν στιβαρό σύνδεσμο γενικής χρήσης που δεν θα υποχωρεί υπό πίεση, αυτός είναι αυτός που προσφέρει. Δεν έχει να κάνει μόνο με το μέγεθος. πρόκειται για υλικά και μηχανική που συνεργάζονται για να αναλάβουν το βάρος χωρίς να φθείρονται γρήγορα.
Μετακινεί την ισχύ αποτελεσματικά
Αναρωτηθήκατε ποτέ πού πηγαίνει όλη η ενέργεια σε μεγάλες βιομηχανικές εγκαταστάσεις; Δεν σπαταλούνται πολλά εδώ. Αυτός ο γενικός σύνδεσμος άρθρωσης υψηλής ροπής επιτυγχάνει επίπεδα απόδοσης έως και 98,6%, που σημαίνει λιγότερη ενέργεια που χάνεται ως θερμότητα ή τριβή. Για επιχειρήσεις που θέλουν να μειώσουν το κόστος, αυτό είναι μια μεγάλη νίκη. Είναι το είδος της αποτελεσματικής γενικής σύνδεσης άρθρωσης που κάνει τη διαφορά στα μεγάλα συστήματα μετάδοσης ισχύος, λειτουργώντας ως αξιόπιστος σύνδεσμος γενικής χρήσης που κρατά υπό έλεγχο τους λογαριασμούς ενέργειας.
Ήσυχο και σταθερό
Τα δυνατά μηχανήματα μπορεί να είναι πραγματικό πρόβλημα, ειδικά σε χώρους όπου ο θόρυβος έχει σημασία. Ο γενικός σύνδεσμος άρθρωσης SWC διατηρεί τα πράγματα ήρεμα, με επίπεδα θορύβου συνήθως μεταξύ 30-40 dB(A)—πιο ήσυχα από μια κανονική συνομιλία. Αυτό το καθιστά έναν εξαιρετικό γενικό σύνδεσμο άρθρωσης χαμηλού θορύβου για περιβάλλοντα όπου η διατήρηση του ήχου είναι πολύ σημαντική, χωρίς να θυσιάζεται η αξιοπιστία που χρειάζεστε. Είτε πρόκειται για εργοστασιακό δάπεδο είτε για συνεργείο ακριβείας, αυτός ο εύρυθμος σύνδεσμος γενικής χρήσης κάνει τη δουλειά χωρίς τη ρακέτα.
Το SWC-BH Standard Flex Welding Type Universal Coupling δεν είναι απλώς ένα άλλο εξάρτημα - είναι ένα εργαλείο που έχει κατασκευαστεί για να κινεί αποτελεσματικά την ισχύ, ακόμη και όταν τα μηχανήματα βρίσκονται υπό μεγάλη πίεση. Ας αναλύσουμε εκεί που πραγματικά λάμπει.
Πάρτε για παράδειγμα βαριά μηχανήματα και εξοπλισμό κατασκευής. Όταν αντιμετωπίζετε ακραία φορτία και συνεχείς κραδασμούς—σκεφτείτε εκσκαφείς ή μπουλντόζες—αυτός ο σύνδεσμος δεν υποχωρεί. Ο συγκολλημένος σχεδιασμός του προσθέτει επιπλέον σκληρότητα, ώστε να ξεπερνά τις πιο αδύναμες επιλογές που μπορεί να σπάσουν ή να φθαρούν από όλη αυτή την κίνηση. Είναι το είδος της γενικής ζεύξης υψηλής ροπής που διατηρεί τη ροή της ισχύος, ανεξάρτητα από το πόσο δύσκολη είναι η εργασία.
Στα εργοστάσια, ειδικά σε γραμμές μεταφοράς και συστήματα συναρμολόγησης, η ακρίβεια έχει σημασία. Αυτός ο γενικός σύνδεσμος βιομηχανικής ποιότητας χειρίζεται τις γωνίες και τις μετατοπίσεις σε ευθυγράμμιση χωρίς να παρακάμψει ένα ρυθμό, διατηρώντας τις ταχύτητες σταθερές. Αυτό σημαίνει λιγότερο χρόνο για τη διόρθωση βλαβών και περισσότερο χρόνο για τη διατήρηση της παραγωγής σε καλό δρόμο. Αρέσει στους μηχανικούς επειδή προσαρμόζεται σε αξονικές, ακτινικές και γωνιακές κακές ευθυγραμμίσεις—μικρές μετατοπίσεις που μπορούν να πετάξουν άλλα μέρη.
Στην αυτοκινητοβιομηχανία και τις μεταφορές, οι κινητήριοι άξονες χρειάζονται κάτι αξιόπιστο για να μεταφέρουν την ισχύ ομαλά. Το SWC-BH ταιριάζει απόλυτα, είτε πρόκειται για φορτηγά, τρένα ή άλλα οχήματα. Η ευέλικτη σχεδίαση συγκόλλησης καθιστά εύκολη την είσοδο σε υπάρχουσες ρυθμίσεις, χειρίζοντας υψηλές ταχύτητες χωρίς να κόβετε τις γωνίες για λόγους ασφαλείας. Είναι ο γενικός σύνδεσμος άξονα μετάδοσης κίνησης για να διατηρείτε τα πράγματα σε κίνηση.
Οι θαλάσσιες και υπεράκτιες εργασίες είναι δύσκολες στον εξοπλισμό - αλμυρό νερό, δύσκολες καιρικές συνθήκες, απρόβλεπτα φορτία. Αυτή η σύζευξη είναι και εδώ. Ως θαλάσσιος γενικός σύνδεσμος ανθεκτικός στη διάβρωση, αντέχει σε ψεκασμό αλατιού και θαλασσοταραχή, διατηρώντας τους κινητήρες των πλοίων και τις βοηθητικές μηχανές σε λειτουργία με συνέπεια. Χωρίς αστοχίες που σχετίζονται με σκουριές, χωρίς απροσδόκητους τερματισμούς λειτουργίας.
Οι εγκαταστάσεις ανανεώσιμων πηγών ενέργειας όπως οι ανεμογεννήτριες και οι ηλιακοί ιχνηλάτες χρειάζονται εξαρτήματα που δεν σπαταλούν ενέργεια. Το SWC-BH εξελίσσεται ως ένας γενικός σύνδεσμος ανανεώσιμων πηγών ενέργειας, μεταφέροντας ισχύ με σχεδόν καμία αντίδραση. Πληροί τα παγκόσμια πρότυπα ποιότητας, επομένως, είτε βρίσκεται σε αιολικό πάρκο στην Ευρώπη είτε σε ηλιακή μονάδα στην Ασία, αποδίδει.
Στη Raydafon, δεν πουλάμε μόνο αυτούς τους συνδέσμους - τους προσαρμόζουμε. Χρειάζεστε συγκεκριμένο μέγεθος, υλικό ή χωρητικότητα ροπής; Η ομάδα μας τροποποιεί το SWC-BH για να ταιριάζει ακριβώς στις ανάγκες σας. Επικοινωνήστε μαζί μας και θα σας βοηθήσουμε να αξιοποιήσετε στο έπακρο το σύστημά σας.
Όταν αναζητάτε κάποιον να εμπιστευτείτε τα μηχανικά εξαρτήματα—ειδικά πράγματα όπως ο γενικός σύνδεσμος SWC-BH Standard Flex Welding Type—Το Raydafon δεν είναι απλώς μια άλλη επιλογή. Είμαστε ένας κατασκευαστής που ζει και αναπνέει ποιότητα, και αυτό φαίνεται σε κάθε κομμάτι που κατασκευάζουμε.
Καταρχάς, η ποιότητα δεν αποτελεί εκ των υστέρων σκέψη για εμάς. Χρησιμοποιούμε τεχνικές μηχανικής κορυφαίας βαθμίδας και τοποθετούμε κάθε μεμονωμένο σύνδεσμο γενικής χρήσης — είτε είναι υψηλής ροπής για βαριά μηχανήματα είτε μοντέλο βιομηχανικής ποιότητας για εργοστασιακές ρυθμίσεις, μέσω αυστηρών ελέγχων. Κάθε ανταλλακτικό πληροί τα πρότυπα ISO 9001 και τα δοκιμάζουμε σκληρά: ακραία φορτία, δύσκολες συνθήκες, ό,τι κι αν επιβάλει η βιομηχανία σας. Ο στόχος; Χωρίς απροσδόκητες βλάβες, λιγότερους κινδύνους για τις λειτουργίες σας και σύζευξη που διατηρεί την ομαλή λειτουργία των συστημάτων σας.
Στη συνέχεια, υπάρχει η προσαρμογή. Ας είμαστε αληθινοί - δεν υπάρχουν δύο ίδιες δουλειές. Ίσως χρειάζεστε έναν γενικό σύνδεσμο άξονα μετάδοσης κίνησης με συγκεκριμένες διαστάσεις ή έναν σύνδεσμο γενικής χρήσης θαλάσσιας πρόωσης κατασκευασμένο από ανθεκτικό στη διάβρωση υλικό ή ακόμα και έναν γενικό σύνδεσμο ανανεώσιμης ενέργειας ρυθμισμένο για ακριβώς τη σωστή ροπή. Δεν σας κάνουμε να χωρέσετε ένα εξάρτημα που ταιριάζει σε όλους. Πείτε μας τι χρειάζεστε και θα το προσαρμόσουμε ώστε να ενσωματωθεί στην υπάρχουσα εγκατάσταση σας—είτε πρόκειται για συστήματα αυτοκινήτου, θαλάσσια ή ηλιακά/αιολικά συστήματα.
Και καταλαβαίνουμε ότι το κόστος έχει επίσης σημασία. Δεν πρέπει να διαλέξετε ανάμεσα σε μια καλή σύζευξη και μια δίκαιη τιμή. Βελτιστοποιήσαμε την αλυσίδα εφοδιασμού μας και κλιμακώσαμε την παραγωγή μας, ώστε να μπορούμε να προσφέρουμε ανταγωνιστικές τιμές ακόμη και σε εξειδικευμένα εξαρτήματα —όπως αυτός ο γενικός σύνδεσμος θαλάσσιας πρόωσης ή το βιομηχανικό μοντέλο υψηλής ροπής—χωρίς να μειώνουμε την ποιότητα. Έχει να κάνει με το να σας προσφέρουμε αξία που διαρκεί, όχι απλώς ένα φτηνό εξάρτημα που αποτυγχάνει γρήγορα.
Η ομάδα μας δεν εξαφανίζεται όταν πατήσετε "παραγγελία". Από την πρώτη κλήση —όταν προσπαθείτε να καταλάβετε ποιος σύνδεσμος γενικής χρήσης λειτουργεί καλύτερα για τον εξοπλισμό ανανεώσιμων πηγών ενέργειας ή τη γραμμή του εργοστασίου σας— μέχρι την υποστήριξη μετά την πώληση εάν έχετε ερωτήσεις, είμαστε εδώ. Έχουμε χρόνια τεχνογνωσίας στον κλάδο, ώστε να μπορούμε να σας καθοδηγήσουμε στη σωστή επιλογή, να σας βοηθήσουμε να αποφύγετε το χρόνο διακοπής λειτουργίας και να βεβαιωθείτε ότι ο σύνδεσμος σας κάνει ακριβώς αυτό που χρειάζεστε.
Στη Raydafon, δεν πουλάμε μόνο ανταλλακτικά - χτίζουμε συνεργασίες. Θέλουμε να είμαστε η ομάδα που εμπιστεύεστε για να συνεχίσετε τις δραστηριότητές σας να προχωρούν, με καθολικές κοινές λύσεις που λειτουργούν τόσο σκληρά όσο εσείς. Εάν έχετε συγκεκριμένες ανάγκες, απευθυνθείτε στους ειδικούς μας σήμερα—ας μιλήσουμε για το πώς μπορούμε να βοηθήσουμε.
Διεύθυνση
Βιομηχανική περιοχή Luotuo, περιοχή Zhenhai, πόλη Ningbo, Κίνα
Τηλ
ΗΛΕΚΤΡΟΝΙΚΗ ΔΙΕΥΘΥΝΣΗ


+86-574-87168065


Βιομηχανική περιοχή Luotuo, περιοχή Zhenhai, πόλη Ningbo, Κίνα
Πνευματικά δικαιώματα © Raydafon Technology Group Co., Limited Με την επιφύλαξη παντός δικαιώματος.
Links | Sitemap | RSS | XML | Πολιτική Απορρήτου |
